电子电能表与电能测量技术讲座--电力用户自动抄表系统
综合介绍电力用户自动抄表系统的系统结构、采集终端、集中器和相关的通信信道。
1引言
前面17讲介绍了许多新型电子电能表和有线、无线抄表系统。本讲将以前讲过的内容疏理一下,帮助读者对讲座内容有个全面的了解。与此同时,对抄表系统中的采集终端和集中器的典型设计方案也作较详细介绍。

一种可采集多个用户的终端原理电路见图2。它由单片机、小键盘、显示器、串行通信电路、存贮器等构成。经程序控制,此终端具有远方自动抄表和人工就地抄表双重功能;具有设置用电常数,采集、处理、存储各用户用电量及与一级设备通信的功能。
由电子电能表的工作原理知,一段时间之内用户消耗的有功电能EP为:
式中,Δt为采样时间间隔;Ui、Ii为电压、电流的第i个采样值;n为这段时间内的采样次数。表内A/D转换电路将Ui、Ii转换为对应的数字量;表内单片机或DSP对它们作数字乘法运算,产生此时刻的有功功率;边采集处理边累加,经过一段时间后即得到这段时间内用户消耗的有功电能。
电子电能表通过串行口(RS485或RS232)接采集终端,并按事先约定的通信规约接受采集终端的访问,输出积算周期的用电量等。
为保证掉电时不丢失信息,采集终端采用E2PROM存储器存储用户的用电数据(用户号、年月、用电量等)。为防止终端死机,图2中设有看门狗电路。单片机定时发脉冲给看门狗,使它内部的计数器清零;如果在预定时间内看门狗没有收到单片机发来的脉冲,则主动发一脉冲给单片机,使其复位。

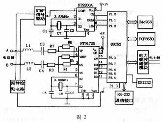
图3是一种以单片机89C52为核心构成的集中器硬件电路[1]。它主要由振铃检测电路、DTMF(双音多频)信号收发电路、载波通信模块、存储器和时钟电路等5部分组成。
集中器与主站之间采用电话信道通信。集中器以振铃检测电路及时响应主站发出的抄表指令。双音多频电话信号的接收和发送采用HT9170D和HT9200A及相关电路实现。HT9170D是一款具有解码和滤波功能的DTMF接收芯片,它利用数字计算方法来识别双音频信号,对16种DTMF输入进行解码。实际通信时,双音频信号从L1、L2端输入,经C3、C4隔直后送入9170的第1脚和第2脚。HT9170D接收到有效的DTMF信号则在DV端输出高电平;将OE端置高,单片机就可以从D0~D3端口读入解码的输出。图3中OE端接+5V,因此,只要用单片机的P3.3不断检测DV端电平的变化就能准确地接收DTMF信号。
DTMF信号、D0~D3及电话按键信号的对应关系见表1。

DATA、CLK分别接单片机的P1.0、P1.1、P1.2,X1、X2接3.58MHz晶振(C1、C2为20pF电容),DTMF端双音多频输出端接驱动电路。单片机用P1.0控制HT9200A的工作状态,置低电平时允许发送数据。此时,在P1.1端串行输出待编码的5位二进制码,D0在前,D4在后,并在P1.2端输出的同步时钟信号的下降沿锁存这些数据。HT9200A接收到这些代码后,经内部处理从DTMF端输出双音频信号,再经驱动放大后送到电话线上。单片机对HT9200A的驱动时序见图4。
图3中的载波通信模块的作用与采集终端的载波模块的作用大同小异。图中24C256是串行E2PROM存储器,用来存储用户的数据;因集中器保存的用户数多、时间长,因此选用的存储器容量一般都很大。图中PCF8583是一款带I2C总线、低功耗的多功能时钟/日历芯片;DS1232为看门狗芯片,所起的作用与采集终端中所起的作用相同。

图3所示的集中器通过电话网与主站管理中心通信。若集中器较多,则租用的电话线比较多;而且,线路续接还影响通信的实时性。为克服上述不足,文献[2]给出了一种基于CAN总线的解决方案。将位置相对集中的多个集中器用CAN总线连接成一个主多从的局域网,一个局域网只需一部电话与主站通信,大大减少了集中器租用电话线的数目,降低了通信成本;而且,利用CAN总线的广播通信方式,还有效提高了系统的实时通信能力。除有线通信外,集中器还常以无线信道(包括中继)与主站管理中心通信。
主站管理中心的计算机是整个抄表系统的核心。由它发布抄表指令,汇总、存储用户用电数据;同时,通过对数据库中数据的统计、分析,打印报表,发出相关的控制指令等。
为了实现抄表、缴表、查询一体化,主站用电管理中心可与定点收费银行联网。每到缴费时间,系统自动抄掉用户缴费卡上的本月电费。另一方面,管理中心还可通过无线网络与用户手机联系起来,如发现缴费卡上的金额低于某一值,可通过短信息的方式通知用户等。




